只要按一下按键,舷窗就会慢慢变暗,直到几乎完全不透光。
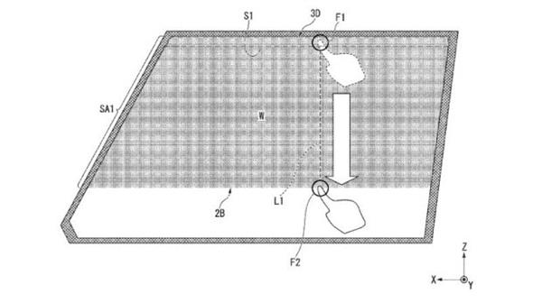
可能没人想到车窗玻璃上能玩什么高科技,但是本田做到了。近日,本田申请了一款可以通过触摸改变车窗颜色的车窗的专利。

波音787搭载的“电子窗帘”


奔驰“魔术天窗”

众所周知,波音787使用了”电子窗帘“,只要按一下按键,舷窗就会慢慢变暗,直到几乎完全不透光;奔驰在一些车型上搭载了魔术天窗,它的功能与”电子窗帘“也基本相似。本田这次做的则要更加先进,因为它通过触控技术,只需要手指在侧窗玻璃上轻轻一划,划过的区域都会变暗,实现车窗颜色的随意控制。
不过编辑认为这项技术也有一定的弊端,你必须在车上准备一块布,因为你的车窗可能会遍布指纹。所以,如果这项技术能够升级为手势控制那就完美了!关于本田这项技术的进展,让我们拭目以待。
我要说
登录发布评论